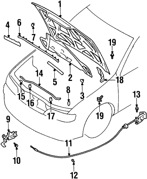
Hood & Components for 2002 INFINITI G20
- Bumper & Components - Front
- Bumper & Components - Rear
- CLUSTER & SWITCHES
- Cowl
- Door & Components
- Ducts
- Exterior Trim - Fender
- Exterior Trim - Front Door
- Exterior Trim - Pillars
- Exterior Trim - Quarter Panel
- Exterior Trim - Rear Door
- Exterior Trim - Roof
- Exterior Trim - Trunk
- Fender & Components
- Front Console
- Front Door
- Front Seat Components
- Fuel Door
- Glass - Front Door
- Glass - Rear Door
- Glass - Windshield
- Glass & Hardware - Back
- Glove Box
- Grille & Components
- Hood & Components
- Inner Structure
- Instrument Panel
- Instrument Panel Components
- Interior Lamps
- Interior Trim - Pillars
- INTERIOR TRIM - QUARTER PANELS
- INTERIOR TRIM - REAR BODY
- Interior Trim - Rear Door
- Interior Trim - Roof
- INTERIOR TRIM - TRUNK
- Labels
- Lid & Components
- Lock & Hardware
- Master Cylinder - Components On Dash Panel
- Outside Mirrors
- Quarter Panel & Components
- Rear Body
- Rear Console
- Rear Door
- Rear Floor & Rails
- Rear Seat
- Reveal Moldings
- Roof & Components
- Seat Belt
- Sound System
- Spoiler
- Structural Components & Rails
- Sunroof
- Tracks & Components
- Trunk
- Uniside
- Wiper & Washer Components
- ABS Components
- Air Bag Components
- Alternator
- Antenna & Radio
- Anti-Theft Components
- Automatic Transaxle
- Battery
- Bulbs - Chassis
- Cruise Control System
- Distributor
- Electrical Components
- Flashers
- Fog Lamps
- Front Door
- Front Seat Belts
- Headlamp Components
- Heated Seats
- High Mounted Stop Lamp
- Horn
- Ignition Lock
- Ignition System
- Instruments & Gauges
- Keyless Entry Components
- License Lamps
- Mirrors
- Park Lamps
- Power Seats
- Powertrain Control
- Rear Door
- Rear Seat Belts
- Senders
- Side Marker Lamps
- Signal Lamps
- Starter
- Sunroof
- Switches
- Tail Lamps
- Trunk
- Window Defroster
- Wipers
- Bumper & Components - Front
- Bumper & Components - Rear
- CLUSTER & SWITCHES
- Cowl
- Door & Components
- Ducts
- Exterior Trim - Fender
- Exterior Trim - Front Door
- Exterior Trim - Pillars
- Exterior Trim - Quarter Panel
- Exterior Trim - Rear Door
- Exterior Trim - Roof
- Exterior Trim - Trunk
- Fender & Components
- Front Console
- Front Door
- Front Seat Components
- Fuel Door
- Glass - Front Door
- Glass - Rear Door
- Glass - Windshield
- Glass & Hardware - Back
- Glove Box
- Grille & Components
- Hood & Components
- Inner Structure
- Instrument Panel
- Instrument Panel Components
- Interior Lamps
- Interior Trim - Pillars
- INTERIOR TRIM - QUARTER PANELS
- INTERIOR TRIM - REAR BODY
- Interior Trim - Rear Door
- Interior Trim - Roof
- INTERIOR TRIM - TRUNK
- Labels
- Lid & Components
- Lock & Hardware
- Master Cylinder - Components On Dash Panel
- Outside Mirrors
- Quarter Panel & Components
- Rear Body
- Rear Console
- Rear Door
- Rear Floor & Rails
- Rear Seat
- Reveal Moldings
- Roof & Components
- Seat Belt
- Sound System
- Spoiler
- Structural Components & Rails
- Sunroof
- Tracks & Components
- Trunk
- Uniside
- Wiper & Washer Components
- ABS Components
- Air Bag Components
- Alternator
- Antenna & Radio
- Anti-Theft Components
- Automatic Transaxle
- Battery
- Bulbs - Chassis
- Cruise Control System
- Distributor
- Electrical Components
- Flashers
- Fog Lamps
- Front Door
- Front Seat Belts
- Headlamp Components
- Heated Seats
- High Mounted Stop Lamp
- Horn
- Ignition Lock
- Ignition System
- Instruments & Gauges
- Keyless Entry Components
- License Lamps
- Mirrors
- Park Lamps
- Power Seats
- Powertrain Control
- Rear Door
- Rear Seat Belts
- Senders
- Side Marker Lamps
- Signal Lamps
- Starter
- Sunroof
- Switches
- Tail Lamps
- Trunk
- Window Defroster
- Wipers
Browse Categories
Select category
- Bumper & Components - Front
- Bumper & Components - Rear
- CLUSTER & SWITCHES
- Cowl
- Door & Components
- Ducts
- Exterior Trim - Fender
- Exterior Trim - Front Door
- Exterior Trim - Pillars
- Exterior Trim - Quarter Panel
- Exterior Trim - Rear Door
- Exterior Trim - Roof
- Exterior Trim - Trunk
- Fender & Components
- Front Console
- Front Door
- Front Seat Components
- Fuel Door
- Glass - Front Door
- Glass - Rear Door
- Glass - Windshield
- Glass & Hardware - Back
- Glove Box
- Grille & Components
- Hood & Components
- Inner Structure
- Instrument Panel
- Instrument Panel Components
- Interior Lamps
- Interior Trim - Pillars
- INTERIOR TRIM - QUARTER PANELS
- INTERIOR TRIM - REAR BODY
- Interior Trim - Rear Door
- Interior Trim - Roof
- INTERIOR TRIM - TRUNK
- Labels
- Lid & Components
- Lock & Hardware
- Master Cylinder - Components On Dash Panel
- Outside Mirrors
- Quarter Panel & Components
- Rear Body
- Rear Console
- Rear Door
- Rear Floor & Rails
- Rear Seat
- Reveal Moldings
- Roof & Components
- Seat Belt
- Sound System
- Spoiler
- Structural Components & Rails
- Sunroof
- Tracks & Components
- Trunk
- Uniside
- Wiper & Washer Components
- ABS Components
- Air Bag Components
- Alternator
- Antenna & Radio
- Anti-Theft Components
- Automatic Transaxle
- Battery
- Bulbs - Chassis
- Cruise Control System
- Distributor
- Electrical Components
- Flashers
- Fog Lamps
- Front Door
- Front Seat Belts
- Headlamp Components
- Heated Seats
- High Mounted Stop Lamp
- Horn
- Ignition Lock
- Ignition System
- Instruments & Gauges
- Keyless Entry Components
- License Lamps
- Mirrors
- Park Lamps
- Power Seats
- Powertrain Control
- Rear Door
- Rear Seat Belts
- Senders
- Side Marker Lamps
- Signal Lamps
- Starter
- Sunroof
- Switches
- Tail Lamps
- Trunk
- Window Defroster
- Wipers
- Bumper & Components - Front
- Bumper & Components - Rear
- CLUSTER & SWITCHES
- Cowl
- Door & Components
- Ducts
- Exterior Trim - Fender
- Exterior Trim - Front Door
- Exterior Trim - Pillars
- Exterior Trim - Quarter Panel
- Exterior Trim - Rear Door
- Exterior Trim - Roof
- Exterior Trim - Trunk
- Fender & Components
- Front Console
- Front Door
- Front Seat Components
- Fuel Door
- Glass - Front Door
- Glass - Rear Door
- Glass - Windshield
- Glass & Hardware - Back
- Glove Box
- Grille & Components
- Hood & Components
- Inner Structure
- Instrument Panel
- Instrument Panel Components
- Interior Lamps
- Interior Trim - Pillars
- INTERIOR TRIM - QUARTER PANELS
- INTERIOR TRIM - REAR BODY
- Interior Trim - Rear Door
- Interior Trim - Roof
- INTERIOR TRIM - TRUNK
- Labels
- Lid & Components
- Lock & Hardware
- Master Cylinder - Components On Dash Panel
- Outside Mirrors
- Quarter Panel & Components
- Rear Body
- Rear Console
- Rear Door
- Rear Floor & Rails
- Rear Seat
- Reveal Moldings
- Roof & Components
- Seat Belt
- Sound System
- Spoiler
- Structural Components & Rails
- Sunroof
- Tracks & Components
- Trunk
- Uniside
- Wiper & Washer Components
- ABS Components
- Air Bag Components
- Alternator
- Antenna & Radio
- Anti-Theft Components
- Automatic Transaxle
- Battery
- Bulbs - Chassis
- Cruise Control System
- Distributor
- Electrical Components
- Flashers
- Fog Lamps
- Front Door
- Front Seat Belts
- Headlamp Components
- Heated Seats
- High Mounted Stop Lamp
- Horn
- Ignition Lock
- Ignition System
- Instruments & Gauges
- Keyless Entry Components
- License Lamps
- Mirrors
- Park Lamps
- Power Seats
- Powertrain Control
- Rear Door
- Rear Seat Belts
- Senders
- Side Marker Lamps
- Signal Lamps
- Starter
- Sunroof
- Switches
- Tail Lamps
- Trunk
- Window Defroster
- Wipers
Hood & Components for 2002 INFINITI G20
No.
Part # / Description / Price
3
8
Hood Bumper
Infiniti
MSRP $17.20
Infiniti Outer. On body. Side. On radiator support. On hood. Front, #1. Lower.
10
Safety Catch Bolt
Infiniti
MSRP $5.16
Infiniti Lock Bolt
Coupe, convertible. Sedan. From 12/95. Stay bracket.
13
Door Trim Panel Screw
Infiniti
MSRP $1.35
Infiniti Release Cable Bolt
Side bracket. To 11/05. Sedan. From 11/05, grip handle. From 11/05, mount bracket. To bumper cover. 1997-00. 2001-03. #1. Convertible.
No.
Part # / Description / Price
14

