Stevens Creek Infiniti

Shop Parts

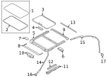
Guide - Infiniti (91358-1MA1A)

2011-2024 INFINITI - 913581ma1a

  • Sale Price: $438.42

Details

  • Brand:

     Parts

  • SKU:

    91358-1MA1A

  • Positions: RIGHT
  • Other Names:

    Guide Assembly Sunroof Right-hand

  • Description:

    With sunroof. 2017-19. 2015-16.

  • Condition: New

Vehicle Fitment

Vehicle Fitment
Year Make Model Body & Trim Engine & Transmission
( more fitments)
No fitment data available
  • Sale Price: $438.42